K-WANG



The Woodward EM-80/EM-300 actuator system is a fully electric actuator system suitable for large diesel/gas engines and turbines. The core consists of the actuator (EM-80/EM-300), driver, AC power filter, and dedicated cables. It uses a three-phase brushless AC motor and a precision planetary gearbox, supports 4-20mA position command signals and 1-5V position feedback, and has strict environmental adaptability such as IP64 protection level and a working temperature range of -30 ℃ to+85 ℃. Through multiple international certifications, it can achieve precise control of components such as fuel racks and variable geometry structures, and is equipped with complete installation, diagnosis, maintenance processes and redundant power supply solutions.
Product basic information
Key project information
Product Name Woodward EM-80/EM-300 actuator system
Core positioning: fully electric execution system, used for large diesel/gas/gasoline engines, various types of turbines
Core functions include controlling the position of the fuel rack, variable geometry of the turbine, and timing control
System components include actuators (EM-80/EM-300), drivers, AC power filters (essential for marine TN/TT systems), shielded cables, and metal control cabinets
International certifications: EU CE (Low Voltage Directive 2014/35/EU, EMC Directive 2014/30/EU), ABS (2015 Steel Ship Rules), BV (Steel Ship Classification Rules), LR (Classification Society Certification), RMRS (Russian Maritime Certification)
Protection level: actuator IP64, driver IP20
Analysis of Core Component Technology
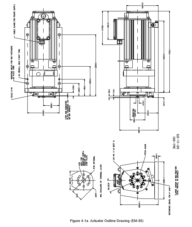
(1) Executor (EM-80/EM-300)
Structural commonality: Both are equipped with three-phase brushless AC motors and precision planetary gearboxes, equipped with rotary transformers (position feedback accuracy of 12 arcminutes), output flanges with pointers and scales, and support 40 ° travel (no internal mechanical limit)
Key Differences
|Parameters | EM-80 | EM-300|
|Gearbox transmission ratio | 1:7 (single-stage planet) | 1:20 (two-stage planet)|
|Continuous output torque | 91Nm (67lb ft) | 260Nm (192lb ft)|
|Peak output torque (1 second) | 190Nm (140lb ft) | 429Nm (316lb ft)|
|10-90% unloaded sleep time | 78ms | 192ms|
|Weight | 35kg (77lb) | 38kg (84lb)|
|Position sensing | Rotary transformer only | Rotary transformer+10 turn potentiometer (coarse positioning)|
|Maximum radial load | 1.3kN | 2.9kN|
Environmental adaptability: Operating temperature range from 0 ℃ to+85 ℃ (environment+installation surface), storage temperature range from -30 ℃ to+100 ℃; Resistance to random vibration 12.8Grms (3 hours/axis), impact resistance 40G (11ms sawtooth wave)
(2) Driver
Core function: Convert 400-480VAC (50-60Hz) three-phase power supply into motor control power supply, receive 4-20mA position command, and output 1-5V position feedback
Power specification: Control power supply 24VDC ± 10% (55W_max), input power supply allows ± 10% fluctuation; Support redundant power supply (three-phase main power supply+single-phase backup)
Physical installation: Size 105 × 300 × 260mm (W × H × D), weight 3.8kg; needs to be installed vertically in the metal control cabinet, with 100mm reserved vertically and 5mm reserved left and right for heat dissipation space
Operation and display: LCD dual row 16 character display screen+6-key keyboard, supporting parameter configuration; The LED indicator light (ERROR red/RUN green) displays the working status (standby, running, fault, etc.)
(3) Key cables and filters
Cable type specifications require maximum length
Power cable (driver actuator) shielded three-phase+grounding wire, 480VAC/24A 100m (recommended to add line reactor for over 50m)
Special shielded cable for rotary transformer cables, Woodward supply (5450-1729 series) recommends ≤ 60m (maximum 100m)
Control cable (command/feedback) shielded cable<30m (ensuring EMC performance)
AC power filter: model 1326-1125, only suitable for grounded power networks (TN/TT), not recommended for isolated power networks (IT); Size 240 × 50 × 85mm, weight 1.2kg

Installation and configuration requirements
(1) Installation of actuators
Installation angle: The angle between the output flange and the other end of the actuator is ≤ 45 °, and it can be rotated around the motor shaft for installation
Installation surface requirements: flatness<0.2mm, no scratches or burrs; EM-80 uses 6 12mm fasteners, EM-300 uses 8 12mm fasteners
Temperature derating: When the ambient temperature is above 40 ℃, derating is required. At 85 ℃, EM-80 has a continuous torque of 55Nm, and EM-300 has a continuous torque of 158Nm
(2) Drive configuration
Core configuration parameters (operated through keyboard)
|Parameters | Functions | Optional Values|
|P11 | Selection of actuator type | 0 (EM-80), 1 (EM-300)|
|P10 | Rotation direction selection | 0 (clockwise), 1 (counterclockwise)|
|P14 | Emergency stop function selection | 0 (low level trigger), 1 (high level trigger)|
|P15 | Position command loss (<3.6mA) behavior | 1 (alarm, torque holding), 3 (fault, torque cut-off)|
Wiring requirements: All power cables must be shielded, with both ends of the shielding layer grounded; The distance between the control cable and the power cable is ≥ 20cm, and when crossing, it forms a 90 ° angle
Safety and Fault Diagnosis
(1) Security protection
Electrostatic protection: Discharge before coming into contact with electronic components, avoid synthetic clothing, and store PCB boards in anti-static bags
Electrical safety: The driver contains a high-voltage circuit and needs to wait for 5 minutes for discharge after power failure; PE grounding must be connected, and the emergency stop signal needs to be connected to the host emergency stop system
Mechanical safety: The actuator may suddenly move when powered on, and it is necessary to ensure that personnel stay away from the output shaft and fuel rack area; Suggest setting external mechanical limit (within the range of 40 °~47.5 °)
(2) Fault diagnosis
Diagnostic method: LCD displays fault codes (30+types in total), LED indicator light status prompt (ERROR flashing frequency+RUN light combination)
Common faults and their solutions
|Fault code | Trigger cause | Handling measures|
|31 (short circuit/grounding) | Motor winding fault, power cable damage | Check motor winding resistance (U-V/V-W/W-U ≈ 0.5 Ω), replace cable|
|41 (motor overheating) | Load overload, high ambient temperature | Reduce load, improve heat dissipation, check temperature sensor wiring|
|64 (missing position command) | Command signal<3.6mA, wiring error | Check the 4-20mA command source and confirm the installation of an external 2k Ω resistor|
|66 (three-phase power loss) | Main power failure | Switching to single-phase backup power (redundancy needs to be configured in advance)|
Maintenance and after-sales service
Maintenance requirement: No regular maintenance is required under normal operating conditions; It is recommended to replace the gearbox oil within 5 years in a high temperature environment of 85 ℃ (to be disassembled by the manufacturer)
after-sales support
Service type: 24-hour replacement/exchange service, tablet repair, tablet refurbishment (mechanical products)
Accessories supply: specialized cables, filters, potentiometer kits, repair parts (product model and serial number required)
Technical support: Global service network (including China, the United States, Germany, Japan, etc.), providing on-site services, product training, engineering consulting, etc
Equipment repair: Return Authorization needs to be obtained in advance, and packaging requires anti-static bags, double-layer cardboard boxes, and 100mm cushioning materials

KONG JIANG
Add: Jimei North Road, Jimei District, Xiamen, Fujian, China
Tell:+86-15305925923